Topic: Can Bus only is sending out 4 pieces of data
Dear All,
We are having a very funny problem.
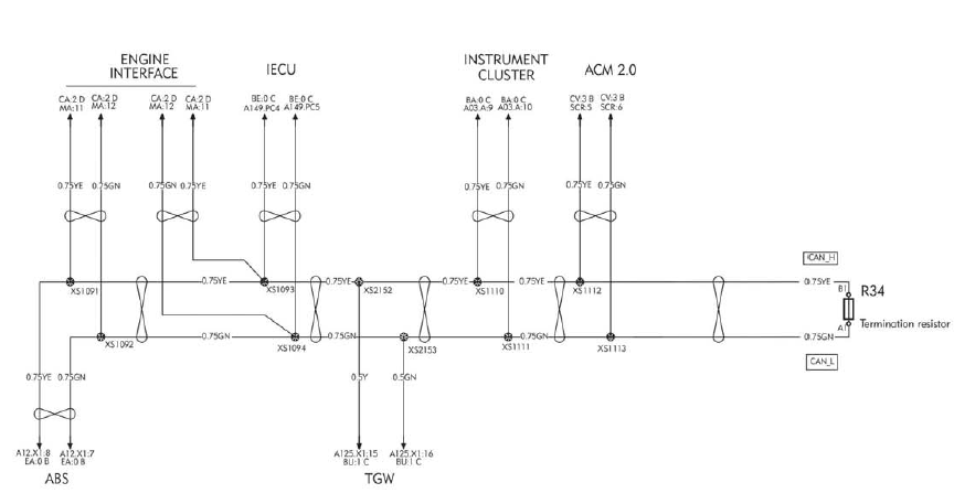
We are using the Can Crocodile to connect to the CAN Bus of the NIssan UD.Funny thing is we have got the official diagrams of Nissan, but yet we are not able to get more than 4 pieces of data.
When we connect to the OBD11 Port we get 4 pieces of data, however when we connect to the other areas of the can network on the vehicle we get nothing. When connected to the OBD Port the can crocodile acts more appropriatly witht he green light blinking on and off showing that it is recieving data.
When connecting to other areas of the network it seems to be Always On maybe it means too many message or maybe there is somthing else wrong.
We tested the Can Bus wires and we found the Voltage of Can High was 2.6 Volts and Can Low was 2.3 Volts. According to the diagram it seems that the wires are correct. Unless we are missing somthing . Please find picture attatched.
We have tried already to connect to the can twisted wires on the Instrument cluster, the ABS, to the ECU A149PC. In all areas we dont get any data, and the can croc stays contantly on.
Mind you we have also connected to OBD Port directly without Can Croc still only get 4 pieces of data. We are USING the Galileo 5.0 and Technoton Can croc. Unfortunatly all the support team has to offer is sorry we dont know how to help and every that every vehicle is different etc etc.
Another important factor which is confusing is that at first we were always getting four messages from the can bus, but then suddenly later on when we tried to connect to OBD again we started only getting 3 messages.
I am very much confused..
please help